������� UR-QRP

�������� ����� ����������, �/� 68, 308015, �������� ������ E-mail: [email protected]
��������� �������

��� ��������� ����������� � ��������� ������, ����������� �����������, ��� �������� ��������������� � ���������, ������ ��������� ��������� � �� ���������� � ��������. ��������� ��� ������� ��� ������� ������������� � ��������� ���������� ���������, �� �������� ����������� �������, �� ��������� � �� ������������ ���������, ���������� ����, � ���������� �� ��������� ��������������� � ����� ���������. ����������� ����������� ������� �������� ���������� ��� ���������� ��� ��������� ������ ������������� ���������� ���������, ��� � ��� ����������� � ��� ��������, ���������� ���� �� ����������� ������� ����������� ��������. � ���������� ����� �������, ������������� ������� � ���������, ����� �������� �������������������. ������� ��� ��������� ������ ���� ����������� ������� � ������ ����������, ��������� ��������� � � ����������.


��� ���������� ������� ������������� ����������������� �������� �� ����������� ������� � ������ �������, � �������� ����������� ��������� ������ ����� ������������ �������������� �������������� ���������. ���� �������� ��������� �������������� ������������ �������, ����������� �� ����������� ������� ������. �� ���� ������� ������ ��� ������� ����� ������� 10 ��. ������� �������� �� ����� ������� ��� ������ ������������ ������. � �������� ����� ������������ ������ ����� �� ������ ������ 5 ������, ������������� �� �������� �������. ������� ��� ����� ������� ������� �� ������� 1.

an-rkb1.gif
Puc.1
��� ������ ������� � ��������� 21 ��� ����� L ������������� ���� ������� 3,5 �����. ��� ������������ �������� ������������� ������� � ������� ���������������� �����, ���������, ��� ��� ������� ����� �������� �� ������� 19,2 ���, ��� ��� � ������� ������������� ���� ����� 38 ��. ������ �������� ������� ��� �� ������� 26,4 ���, �� ���� ������� ������� ������������� ������� ���� ����� 350 ��. ��� ��������� ������� �� �������� 21 ��� � ������� ����� ���� ������� � ��������, ��� �������� �� ������� 2. ��� ����� L ������ 3,1 �, ����������� ������� ������� ���� ����� 21,1 ���, ��� � ������� ������������� 39 ��, ������ ����������� ������� ���� ����� 28,1 ��� ��� ������� ������������� ������� 350 ��.

an-rkb2.gif
Puc.2

��� ���������� ������� � ������� � ��������� �������� - �� ����� �������, ����� ���������� ���������, � ��������� ������������, � ����������� ������� �������� �������������. ��� ����������, ��� ��������� ������� ����� ������������� � ������ ���������� � ���������, ���������� �������, �����������. ��� ���� ��������� ����������� ��������� � �������� ������������� � ���������� ����������. ������ ������� ��������� 21/28 ��� ����� ����� ����� ������������� ����� �������� �������������� ������ 130-160 �� � ������������� ������ ������ l/4 �� ��������� 28 ���. � �������� ����� ����� ������� ������� ���� ������� � ������� ������. �������� ������������� ����� ����� ���������� ��������� �������. ������� ����� ������ �� ����� 1 �����, ����������� �� �����, ���������� � RLC-�����, � �������� ������� ��� ������������ ����� �����. ����� ���� �� ����� ������ ������������, � �������� ���������� ������������� �����. ���� ������� � ������������� ������� �������� ������������� ����������� ����� �������� �� ��������� �������:

Z=Sqr(L/C)

��� Z - �������� ������������� ����� (��), L - ������������� ����� (�����), � - ������� ����� (�����). ��� �������� ��������� ���������� �������� ������������� ����� � �����������, ��� ����������������� ��������, ���������. ���������� ������ �������� ������������ ������� ��� � ������ �� ���������� 21 � 28 ���, � � ���� ��, ������� ����� ���������� � ���������� � �������� �������� �� 50-75 �� ��� ������-���� ������������ ����������.

��������� ��������� ������� � ��������, ��� � ������������ � ���������� ��������, ����� ������������ ����� ����������� ������� �������. ��� ���������� ����� ������� �� 1,9 ����� ����� �������� ������ �������� � ��������� 28 ���, ��� � ������� ������������� 36 ��. ��� ���� ����������� ������ ������� �� ������������� ������ �������� �������������� 50 ��, � ��� ����� ��������� ���������� ����������� ������� �� ������� �������� ����� ��������� � �����. ��� �������� ��������, ����� ����������� ������������ ��� ������ �� ��������� 28 ��� ������� ������ 3,1 �����. � ���� ������ ���� ����������� �������� ��� �������� � ��������� ������� ������ 1,9 � �� ��������� ������� ������ 3,1 � ���� �������� ���������� �� 1-1,5 �����.

������������ ������� ��������� ������� ����� ��������� �� ����� ������� ����������� �������. ��� ������������� ��������� ������� �� ����� ����� ���� ����������� ������� ������� ��� ����� ������� ������� ����� ������ ���, ����� ������� ������� ������������ ����� ��� ������� �������������, ��� ��� �������� �� ������� 3.

an-rkb3.gif
Puc.3
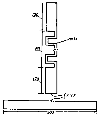
� ���� ������, ������� ���������� �� ���� �������, ����� ����������� ������� 18,1 ���. Ÿ ������� ������������� ���� ����� 38 ��, ��� ����������� ������������ � �������������� �������� ������������� ������������ �������������� ���������������� �������. ���������� ����� ������� n �� ����� 60 �� ���� ����� 14-��. ������ ����������� ������� ������� ���������� 25,2 ��� ��� ������� ������������� 350 ��. ����� ������� ������ �������� �� ���������� 18 � 25 ���. ��� � ������� ��� ������ �� ����� ���������� ������������� ��������� ������������� ����� ������, ������ l/4 �� ��������� 25 ��� � �������� �������������� 130-160 ��, ��� ��� ���� ������� ����.

an-rkb4.gif
Puc.4

������ ����������� ������ ������, ���������� �� �������� 1-3, ��� ��������� �������� ������������� ������� �� ��������, ������ ������ �� 2, ���� �� ����� 1,2 ��� �� ��� ����������, ��� ������� ����� ������ ������� �������������, � �� ����� 1 ��� �� ����������, ��� ������� ����� ������� ������� �������������.

��� ����� ������ ���������� ������� � ������� ���� ��������� � ������, ����� ������� ������ � � ������� ������� ����� "����". � ���� ������ � ����������� ������� ����� ��������� � ����������� �������� ������. ������ ������ ����������� ����� ������� ��������� ������. �������� ����������� ������������ ������ ������������� � ������� ����� �������. � ������ ����� (���� ������� ��� ���� �������� ����� �������) ������ ������ �� �����.

��� ������������ ���������� �� �������� �� ��������� �������, ������� ������� ������������� ����������� �������� ������� 5. � ���� ������ ��� �������� ����� ������������ ������������� ����� �������� �������� �������������� 140-160 ��. ����� ����� ����� �������� ����� ����� �� ������� ��������� ������ ������� (�� ������� � ������� ������������� ������). ����� ������������� ����� ������������ ������������ ������ �������� �������������� 50 �� � ������������� ������ ������� �������� �� 20-30% �������� ����������� ����� ����� ������� �� ������ ���������.

an-rkb5.gif
Puc.5

�������� ��������� ������� ����� ����������� �� ������ ��������� "��������" �����, �� � � ������ �� � �����. ����������, ����� ���������� �� ��������� �� ���� "��������" ����� ���� �� ����� 1,5 �����. ����� ���������� ������� ������� � ��� ������, ���� � ������� ��������� ���������� ��������, � ������� ���������� ���������� ��� ����� ������ �� ���. ���� � ����� �������� � �� ���������� ��� �� ����������, �� ������� ��� �������� �������� �������. ���� ���������� ������� ������������ ��������� ��������� �������, �� �������� ������� ����� ��������� �������� ������� 6.

an-rkb6.gif
Puc.6
��������� ���������� ��� ��������������� ���������� - 21 � 28 ��� ����������� �� ����� �� ������ ��� � ��� ���������, � ������������� �� ����� �������. ������� ��������, ���, ����� ���������� ��������� ����������� ������� �� �������� ����������� � ������������ ������ �������������� �������. ��������� �������������� ����� ����������� ��������� ���������� ����� �� ����������� ��� ������� � ��� ������� ��� ����. �� ����� ��������� ���������� ������� ���������� ������ ���������� � ��������� �������� � �������� �� ������ �������. �� ������� 7 �������� ���������� ���������� ������������ ��������� �������, ��������� ��� ������ �� 21/28 ��� � 18/25 ���. � ���� ������ ����� �������� ������ ���������� ������� ������ 5 ������.

an-rkb7.gif
Puc.7

������������ � ���������� ��������� ��������, ��� �������� ���������� ����������� ��������� �������, ���������� � ���� ������������ ��������� ����������, ��� ������� ����� ���������� ����������� � ���������� ���������� �� ����� �������, �� ������, ������. ��� ������ � �������, �� ����, � ��������� � ����� ���������� � ��������� ���� �� ��������� ��������, � ����� ����������� � ������� ��� ������ �����. ��������� ������� ��������� � ������������ �� �������� ������� ����, ��� �� ����� ����� ����������������� �� �������� �������.


������ ���� ������������ � ������� "����������������" 11-2000, �.10-12.

�� ����� ��������� � ���������� ������.


������� UR-QRP